ASCII Objekt-Referenz 

 

Startseite 

Installation / Bedienung 

Betriebssysteme 

WINDOWS 95(c) / WINDOWS 98 / WINDOWS 2000 / WINDOWS ME / WINDOWS XP / WINDOWS NT 

DRIVE.EXE ist lauffähig unter WINDOWS 95(c) / 98 / ME / 2000 / XP und unter WINDOWS NT 4.0. Das HTML Hilfe-System steht unter WINDOWS 95a und 95b ohne weitere Updates nicht zur Verfügung. Hier ist ein Internet Explorer Update auf Version 4.01 (Service Pack 1) oder höher erforderlich. 

DOS, OS2, WINDOWS 3.xx, Unix, Linux 

DRIVE.EXE ist nicht lauffähig unter DOS, OS2, Windows 3.xx, Unix und Linux.
Eine Notbedienung ist mit einer ASCII-Terminal-Emulation (ohne Oberfläche) möglich.
Interface-Einstellung: 9600 Baud, 8 Bit, 1 Stopbit, kein Parity, kein Handshake 

Softwarebeschreibung 

Die Servoverstärker müssen an die Gegebenheiten Ihrer Maschine angepasst werden. Diese Parametrierung nehmen Sie meist nicht am Verstärker selbst vor, sondern an einem Personal-Computer (PC) mit Hilfe der Inbetriebnahme-Software. Der PC ist mit einer Nullmodem-Leitung (seriell) mit dem Servoverstärker verbunden. Die Inbetriebnahme-Software stellt die Kommunikation zwischen PC und Servoverstärker her. 

Sie können mit wenig Aufwand Parameter ändern und die Wirkung sofort am Antrieb erkennen, da eine ständige Verbindung (online Verbindung) zum Verstärker besteht. Gleichzeitig werden wichtige Istwerte aus dem Verstärker eingelesen und am PC-Monitor angezeigt (Oszilloskop-Funktionen). 

Eventuell im Verstärker eingebaute Interface-Module (Erweiterungskarten) werden automatisch erkannt. 

Sie können Datensätze auf einem Datenträger speichern (archivieren) und wieder laden. Den aktuelle Datensatz können Sie ausdrucken. 

Wir liefern Ihnen motorbezogene Default-Datensätze für sinnvolle Servoverstärker-Motor-Kombinationen. In den meisten Anwendungsfällen werden Sie mit diesen Defaultwerten Ihren Antrieb problemlos in Betrieb nehmen können. 

Hardware-Voraussetzungen 

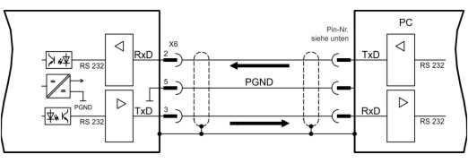
Die PC-Schnittstelle (X6, RS232) des Servoverstärkers wird über eine Nullmodem-Leitung (keine Nullmodem-Link-Leitung) mit einer seriellen Schnittstelle des PC verbunden. 

warning_r_general  

Ziehen und stecken Sie die Verbindungsleitung nur bei abgeschalteten Versorgungsspannungen (Verstärker und PC). 

Die Schnittstelle im Servoverstärker ist über Optokoppler galvanisch getrennt und liegt auf gleichem Potential wie das CANopen-Interface. 

Minimale Anforderungen an den PC: 

Prozessor 

Pentium® I oder höher 

Betriebssystem 

WINDOWS 95(c) / 98 / 2000 / ME / NT 4.0 / XP / Vista / 7 

Grafikkarte 

Windows-kompatibel, Farbe 

Laufwerke 

Festplatte (10 MB frei)
CD-ROM Laufwerk 

Arbeitsspeicher 

mindestens 8MB 

Schnittstelle 

eine freie serielle Schnittstelle (COM1 bis COM10)
Die Schnittstelle darf nicht von einer anderen Software (Treiber o.ä.) verwendet werden. 

RS232-Interface, PC-Anschluss (X6) 

Das Einstellen der Betriebs-, Lageregelungs- und Fahrsatzparameter können Sie mit der Inbetriebnahme-Software auf einem handelsüblichen Personal Computer (PC) erledigen. 

Verbinden Sie die PC-Schnittstelle (X6) des Servoverstärkers bei abgeschalteten Versorgungsspannungen über eine dreiadrige Nullmodem-Leitung (keine Nullmodem-Link-Leitung verwenden!) mit einer seriellen Schnittstelle des PC.
Die Schnittstelle ist über Optokoppler galvanisch getrennt und liegt auf dem gleichen Potential wie das CANopen-Interface. 

Die Schnittstelle wird über die Inbetriebnahme-Software angewählt. 

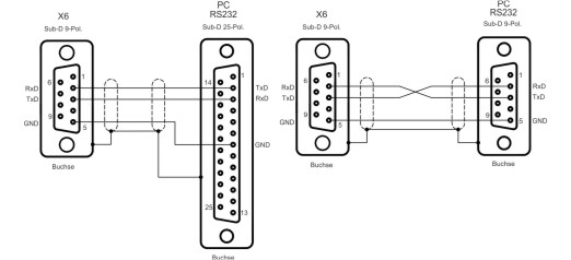
A0311-14  

Übertragungsleitung zwischen PC und dem Servoverstärker 

(Ansicht : Draufsicht auf die eingebauten SubD-Stecker, dies entspricht der Lötseite der SubD-Buchsen an der Leitung) 

A0311-13  

Installation unter WINDOWS 95c / 98 / 2000 / ME / XP / NT 

Von der beiliegenden CDROM können Sie die Inbetriebnahmesoftware direkt installieren. 

Einschalten:
Schalten Sie Ihren PC und den Monitor ein.
Nach Beendigung des Startvorganges erscheint auf dem Monitor die Windows-Oberfläche. 

Installieren:
Autostart-Funktion aktiviert:
Legen sie die CD-ROM in ein freies Laufwerk ein. Es öffnet sich ein Fenster mit dem Startbildschirm der CD. Dort finden Sie eine Verknüpfung zur Inbetriebnahmesoftware. Klicken Sie darauf und folgen sie den Anweisungen. 

Autostart-Funktion deaktiviert:
Legen sie die CD-ROM in ein freies Laufwerk ein. Kllicken Sie auf START (Task-Leiste), dann auf Ausführen. Geben Sie im Eingabefenster den Programmaufruf : x:\index.htm oder x:\autorun.exe (x= korrekter CD-Laufwerksbuchstabe) ein.
Klicken Sie OK und gehen dann wie oben beschrieben vor. 

Bedienung 

Die Inbetriebnahme-Software wird grundsätzlich wie alle Windows-Programme bedient. 

Verwenden Sie als Dezimaltrennzeichen einen Punkt, kein Komma. 

Beachten Sie, dass nach einer Parameteränderung auf einer Bildschirmseite zunächst auf ÜBERNEHMEN geklickt werden muss, damit die Parameter in den Arbeitsspeicher (RAM) des Servoverstärkers übernommen werden. Erst danach sollten Sie die Seite verlassen. Wenn für die Aktivierung einer Funktion ein Reset des Servoverstärkers erforderlich ist, erkennt dies die Inbetriebnahme-Software und führt nach einer Anfrage ein Software-Reset aus. 

Der aktuelle Datensatz muss im nicht flüchtigen Speicher (EEPROM) des Servoverstärkers gespeichert werden, um dauerhaft gesichert zu sein. Führen Sie daher auf der Bildschirmseite "Verstärker" die Funktion Speichern im EEPROM aus, bevor Sie den Servoverstärker abschalten bzw. bevor Sie die Bearbeitung des Datensatzes beenden. 

In rot dargestellte Werte kennzeichnen Parameter, die nur von erfahrenen Benutzern geändert werden sollten. 

Funktionstasten 

Funktionstaste 

Funktion 

Bemerkung 

F1 

Hilfe 

Kontext-Hilfe 

F2 

nicht belegt 

nicht belegt 

F3 

nicht belegt 

nicht belegt 

F4 

Konstante Geschwindigkeit 

Endlosfahrt mit konstanter Geschwindigkeit starten. Der Antrieb fährt  mit den auf der Bildschirmseite "Einrichtbetrieb" vorgewählten Parametern solange, wie die F4-Taste gedrückt bleibt. 

F5 

Gleichstrom 

Der Antrieb wird mit den auf der Bildschirmseite "Oszilloskop/Service" vorgewählten Parametern gefahren. 

F6 

Drehzahl 

F7 

Drehmoment 

F8 

Reversier 

F9 

Stop (AUS) 

Bricht die Bewegung des Antriebes ab. Abhängig von der gerade aktivierten Betriebsart ist das Verhalten des Antriebes unterschiedlich: 

OPMODE=0
Antrieb bremst mit der eingestellten Bremsrampe des Drehzahlreglers (DEC) 

OPMODE=2
Antrieb trudelt aus 

OPMODE=8
Abbruch des aktuellen Fahrsatzes und Abbremsen der innerhalb des Fahrsatzes definierten Bremsrampe. 

F12 

Disable 

Software disable 

Shift F12 

Enable 

Software enable 


warning_r_general_2.JPG  

Ohne weitere Maßnahmen ist das Stillsetzen der Achse mit F9 oder F12 nicht personell sicher. Bedienen Sie das ENABLE-Signal des Verstärkers zur Sicherheit mit einem Zustimmungstaster und stellen Sie die NOT-AUS-Funktion für diese Achse sicher.